转载:https://mobile.zol.com.cn/888/8884045.html
2024-07-31 13:40:41·[??中关村在线 原创??]·作者:林有三
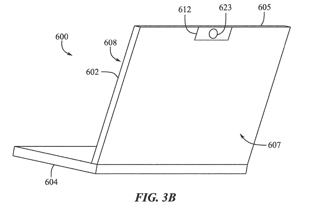
我要吐槽 弹幕 开启弹幕 评论得勋章 验证码: 看不清,换一张 发表评论 根据美国商标和专利局(USPTO)最新公示的清单,苹果公司申请了一项关于 FaceTime 摄像头的专利。这项专利涉及便携式电子设备的设计,包括外壳、壁、开孔处以及光学组件等。
具体来说,这个设备包含一个外壳,外壳包括一个壁和一个与之相对的孔。显示组件可以设置在开孔处,并且固定组件至少部分设置在外壳限定的内部空间中。此外,该设备还配备了一个光学组件,其中包含一个光学组件壳体和一个摄像头模块。通过拆卸固定方式,这个摄像头模块可以被移至设备背面或者更换升级到更好的型号。
从技术角度来看,这种设计为用户提供了更大的灵活性和可定制性。例如,在远程办公等场景下,用户可以根据需要将摄像头移到设备背面,以获得更好的拍摄角度。
这项专利对于苹果公司来说是一次重要的突破。它展示了苹果公司在设计和创新方面的持续努力,并为用户提供了更加个性化和高质量的使用体验。
【图说】苹果获移动、模块化可更换FaceTime摄像头专利
【图片】
【视频】

相关论坛
相关广告

拨打电话